近日消息,国产人工智能(AI)芯片厂商寒武纪发布了2023年上半年财报。
营收同比下滑,净亏损虽然收窄,但依然亏损严重。
财报还显示,上半年研发人员减少了225人。
上半年营收1.14亿元,亏损5.45亿元
具体来说,2023年上半年,寒武纪实现营业收入1.14亿元,同比下滑33.37%;毛利总额8110.97万元,毛利率为70.86%,相比上年同期提升15.93个百分点;上半年净亏损为5.45亿元,相比上年同期净亏损6.22亿元有所收窄;扣非净净亏损6.41亿元,相比上年同期扣非净亏损7.57亿元也有所收窄。
如果只看二季度的业绩,寒武纪二季度营收大约3918万元,环比下降了48%;净亏损为2.9亿元,亏损环比增加13.73%。
寒武纪在财报中解释称,上半年营收同比下滑,主要是受到了供应链影响,同时公司调整了销售策略,优先服务毛利较高、信用较好的客户,造成了本期营业收入有所下降。
不过,这一策略也直接提升了公司的毛利率。
至于亏损进一步收窄,主要是得益于公司不断提升研发效率及优化资源配置:
1)报告期内,按归属期分摊的股份支付费用较上年同期减少;
2)根据公司业务规划,进一步提升研发效率、优化资源配置,本期职工薪酬及测试化验加工费等较上年同期减少。
另外,2023年上半年,寒武纪经营活动产生的现金流量净额同比增加了约3.35亿元,主要系本期销售回款较上年同 期增加了约1.26亿元,以及备货减少导致的采购支出减少约2.28亿元所致;归属于上市公司股东的净资产较上年度末也增加约12.15亿元,总资产较上年度末增加约8.63亿元,主要系本期公司向特定对象发行新股募集资金16.49亿元所致。
本报告期加权平均净资产收益率同比增加 0.40 个百分点;扣除非经常性损益后的加权 平均净资产收益率同比增加 0.93 个百分点,除以上影响归属于上市公司股东的净资产变动的因 素外,主要系本期公司经营亏损金额较上年同期收窄 7,758.07万元所致。
综合寒武纪招股书及近三年上市数据来看,寒武纪一直是处于亏损当中。自2017年至2022年,寒武纪分别亏损了3.807亿元、0.41亿元、11.79亿元、4.34亿元、8.25亿元、12.57亿,6年累计亏损超过41亿元,再加上今年上半年亏损的5.45亿元,累计亏损将超过46.6亿元。
研发投入缩减,研发人员半年减少225人
从财报分析来看,寒武纪的持续亏损主要是由于持续高强度的研发投入所造成的。但是随着上市之后亏损额的持续扩大,再加上去年被美国列入实体清单的影响,自今年以来,寒武纪也不得不开始缩减研发投资。
财报数据显示,2023年上半年寒武纪研发投入约4.826亿元,是同期总营收的四倍,研发投入占营业收入比例为421.56%,虽然相比去年同期增加了55.22 个百分点,但主要系公司上半年营业收入减少所致。并且,2023年上半年研发投入相比去年同期的6.293亿元减少了约1.47亿元,同比减少了23.32%。
对此,寒武纪解释称,研发投入减少主要是以下三个原因:
(1)职工薪酬减少:主要系公司提升研发效率及优化资源配置,职工薪酬较上年同期减少;
(2)测试化验加工费减少:主要系根据业务规划,提升研发效率及优化资源配置,本期测试化验加工费用较上年同期减少所致;
(3)无形资产摊销减少:主要系公司优化购置 IP、EDA 等无形资产,使本期摊销金额较上年同期有所减少。
此前的报道显示,今年4月寒武纪就曾传出裁员的消息。虽然寒武纪并未在财报中承认在今年上半年实施了裁员,仅用了“公司提升研发效率及优化资源配置”的表述。但是,“职工薪酬减少”的根本原因还是在于研发人员数量减少了数百人。
2023年半年报显示,截至2023年6月30日,寒武纪研发人员数量已经降至980人,占员工总人数比例也降至了77.47%(77.04%以上研发技术人员拥有硕士及以上学历)。
但是根据2022年财报显示,截至2022年12月31日,寒武纪研发员工总数达1205人,占总员工人数中占比达79.49%。
也就是说,在今年上半年寒武纪的研发人员相比去年底时已经减少了225人。
另外在今年7月,网上又有传闻显示,寒武纪对旗下智能驾驶芯片业务子公司行歌科技进行了裁员,该公司软件部门裁员近一半,硬件部门仅保留少数员工“善后”,并且新的项目已经暂停,未来可能将被放弃。
而2023年半年报显示,寒武纪在研的车载芯片项目,上半年已经投入了约1.18亿元,累计投入金额达到了约4.64亿元。截至报告期末,寒武纪的中阶智能驾驶芯片已经回片;高阶智能驾驶芯片正在进行产品研发。
如果之前关于寒武纪旗下智能驾驶芯片业务子公司行歌科技的传闻属实的话,可能意味着智能驾驶芯片项目遭遇了挫折,如果该项目最终被放弃,则意味着之前至少4.64亿元的投入将难以收回。
完成16.49亿元定增,却遭遇股东23.58亿元减持
面对巨大财务压力,2022 年,寒武纪向上海证券交易所提交了向特定对象发行股票的申报材料,发行拟募集资金总额不超过 16.72,扣除发行费用后的净额将投资于先进工艺平台芯片项目、稳定工艺平台芯片项目、面向新兴应用场景的通用智能处理器技术研发项目及补充流动资金。
2023年4月13日,寒武纪完成了此次定增,发行价121.1元/股,募资净额为16.49亿元。
值得注意的是,在引入18家机构参与了寒武纪的此次定增的同时,今年以来,也有多家机构减持了寒武纪的股份。
比如,苏州工业园区古生代创业投资企 业(有限合伙)在2023年3月23日到8月24日,通过集中竞价方式累计减持寒武纪1.4343%的股份,减持均价为152.77元/股至225.84元/股,套现约10.72亿元。此番减持后,古生代创投不再持有寒武纪任何股份。
南京招银电信新趋势凌霄成长股权投资基金合伙企业(有限合伙)和湖北长江招银成长股权投资合伙企业(有限合伙)在今年上半年也均清仓了寒武纪。其中,南京招银减持价格区间为77.03元至223.25元/股,套现约3.88亿元;湖北招银减持价格区间为77.06元至223.25元/股,套现约1.91亿元。
国投(上海)科技成果转化创业投资基金企业(有限合伙)今年上半年也减持了寒武纪0.89%的股份,减持价格区间在158元至266.16元/股,套现约7.17亿元。
需要指出的是,今年上半年,受益于以ChatGPT为代表的生成式AI所引爆的AI芯片热潮,推动寒武纪股价大涨,由年初的54.51元/股一度暴涨至最高271.47元/股(4月21日)。显然,上述股东基本都在高位或接近高位的位置进行了减持。累计减持金额达23.58亿元。
随后,由于一季报业绩不佳,以及后续AI芯片热度降低和A股市场的整体下滑,寒武纪股价开始持续走低,8月25日最低价跌至139.23元/股。
为了提振股价,寒武纪昨日晚间,在业绩亏损的情况下,还发布公告称,公司拟通过集中竞价交易方式进行股份回购,回购资金总额不低于3000万元(含),不超过5000万元(含),回购价格不超过239元/股(含),预计回购数量约为12.55万股-20.92万股,约占公司总股本的0.03%-0.05%。
与NVIDIA差距巨大
作为国内较早专注于人工智能芯片产品的研发的企业,寒武纪目前的主要产品为云端智能芯片及加速卡、 训练整机、边缘智能芯片及加速卡、终端智能处理器 IP 以及上述产品的配套软件开发平台。
寒武纪在财报中表示,目前公司已推出的产品体系覆盖了云端、边缘端的智能芯片及其加速卡、训练整机、处理 器 IP 及软件,可满足云、边、端不同规模的人工智能计算需求。公司的智能芯片和处理器产品可 高效支持视觉(图像和视频的智能处理)、语音处理(语音识别与合成)、自然语言处理以及推 荐系统等多样化的人工智能任务,高效支持视觉、语音和自然语言处理等技术相互协作融合的多 模态人工智能任务,可辐射智慧互联网、智能制造、智能教育、智慧金融、智能家居、智慧医疗 等“智能+”产业。
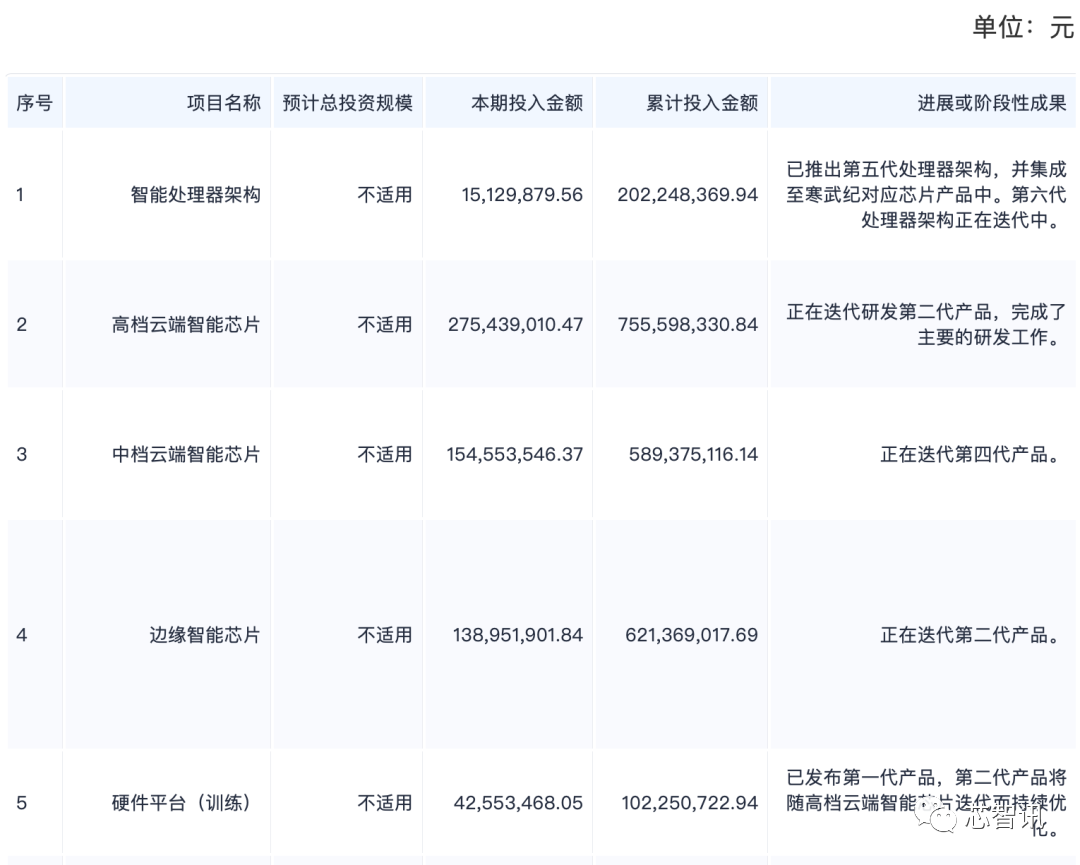
截至报告期末,在智能处理器微架构及指令集方面,寒武纪已自主研发了五代智能处理器微架构、五代商用智能处理器指令集,第六代智能处理器微架构和指令集正在研发中。其中,第六代智能处理器微架构及指令集将对自然语言处理大模型和推荐系统的训练推理等场景进行重点优化,将在编程灵活性、能效、功耗、面积等方 面提升产品竞争力。
在基础系统软件平台方面,寒武纪的基础系统软件平台相比前期版本也进行了优化和迭代。其中,推理软件平台在模型性能优化、大模型和 AIGC 推理业务支持、推理性能优化等重点方面均实现了突破和进展。训练软件平台在通用性、性能等方面取得了优化,在大模型和 AIGC 训练领域、推荐系统等重点领域实现了改进和迭代。比如,在大模型和 AIGC 推理业务支持方面,公司研发了大语言模型分布式推理加速库 BangTransformer,进行了 LLaMA、GLM、BLOOM、GPT-2 等主流生成式大语言模型的适配工作。寒武纪表示,基础系统软件平台的不断改进和发展,将促进公司硬件产品更好的业务落地。
在专利方面,截至2023年6月30日,寒武纪累计申请的专利为 2,774 项。按照专利地域可分为:境内专利 申请 1,789 项,境外专利申请 692 项,PCT 专利申请 293 项;按照专利类型可分为:发明专利申 请 2,700 项,实用新型专利申请 37 项,外观专利申请 37 项。
公司累计已获授权的专利为 1,011 项。按照专利地域可分为:境内专利 718 项,境外专利 293 项;按照类型可分为:发明专利 938 项、实用新型专利 36 项,外观设计专利 37 项。 此外,公司拥有软件著作权 64 项;集成电路布图设计 6 项。
其中,2023年上半年内,寒武纪新增专利申请 54 项,其中发明专利申请 53 项,实用新型专利申请 1 项。公司获授权的专利为 146 项,其中发明专利 143 项,实用新型专利 2 项,外观设计专利 1 项。此外,公司新增软件著作权1项。
虽然持续的高强度的研发投入,使得寒武纪在AI技术实力及专利储备方面都得到了增强,但是从商业化及市场的角度来看,目前寒武纪在整个人工智能芯片市场的存在感仍然较弱。
寒武纪在财报中也坦承地指出,在云端智能计算市场和边缘智能计算市场中,目前市场份额主要由NVIDIA等企业所占据;在智能计算集群系统市场,基于NVIDIA GPU 产品的集群占据市场优势地位。
与NVIDIA等集成电路行业巨头相比,公司存在一定竞争劣势。在产业链生态架构方面,公司自主研发的基础系统软件平台的生态完善程度与NVIDIA相比仍有一定差距;在产品落地能力方面,公司的销售网络尚未全面铺开,业务覆盖规模及客户覆盖领域需要进一步拓展。
虽然自今年年初以来,以ChatGPT为代表的生成式AI持续火爆,直接带动了整个云端AI芯片市场需求的暴涨,AI芯片市场龙头NVIDIA业绩暴涨,市值超万亿美元。同时去年10月美国半导体新规对于高性能AI芯片的对华出口进行了限制,使得NVIDIA等巨头的高性能AI芯片对华出口受限,也推动了国内市场对于国产AI芯片的需求。
但是,从寒武纪财报来看,今年上半年仅实现营业收入1.14亿元,同比还下滑33.37%。显然,寒武纪并未从这场由AIGC所带来的AI芯片盛宴当中分得一杯羹。
资料显示,去年寒武纪思元290、思元370系列芯片产品成功导入阿里云等头部客户,与多家头部企业实现合作,完成规模化销售,并推动了2022年寒武纪云端产品线同比增长高达173.5%,但这主要是由于原来基数较低,实际销售额并不高。
寒武纪也在今年4月公布的定增申报稿中警示称,“NVIDIA在AI芯片领域占有绝对优势,在云端智能芯片机加速卡市场占据90%以上的市场份额,目前云端产品客户与公司尚未形成长期稳定的合作关系”。
当然,这其中一部分的原因可能是由于去年12月被美国打压导致了供应链方面的问题。寒武纪表示,该事项对公司研发造成的影响程度尚在有限范围内,公司的核心技术来自于寒武纪的自主研发,拥有自主知识产权,不会对公司产品研发及核心竞争力产生重大不利影响。但长期来看,切换新供应商将产生一定成本,将可能对公司经营业绩产生一定不利影响。
寒武纪表示,为应对该事项对公司发展造成的不利影响,公司将基于产业政策与产业链上下游长期、广泛、 良好的合作,在产品研发各阶段继续与各相关方保持良好沟通,并积极探索,做好各项应对工作, 推动公司业务持续发展。
另外,目前全球正处于 AIGC 的爆发期初期,但是未来这一领域仍有着巨大的增长空间。目前市场NVIDIA虽然是一家独大,但AI技术仍在快速迭代,技术发展路径仍存在很多新的方向,尚未形成稳定的市场格局。特别是在国产替代的趋势之下,对于国产AI芯片厂商来说有着更多的机会。相信位于风口上的寒武纪也不会甘心错失逆袭的良机。
在财报当中,寒武纪也表示,公司基于云端产品的优势,针对最近兴起的大模型领域,优化了公司产品在 AIGC 及大语言 模型领域的性能,并与多个行业客户及 ISV 推动了技术和产品合作。
最新的信息显示,寒武纪最新一代的云端智能训练新品思元590芯片即将发布,有望在一部分的大模型训练和推理任务中替代A100。
值得注意的是,今年7月下旬,浙江政府采购网、浙江政府购买服务信息平台网站发布关于「浙东南数字经济产业园数字基础设施提升工程(一期)」的结果公告,寒武纪作为牵头方中标,中标金额高达7.53亿元。
显然,如果上述项目顺利落地,将有望推动寒武纪今年营收创下历史新高。
,国产人工智能(AI)芯片厂商寒武纪发布了2023年上半年财报。
营收同比下滑,净亏损虽然收窄,但依然亏损严重。
财报还显示,上半年研发人员减少了225人。
上半年营收1.14亿元,亏损5.45亿元
具体来说,2023年上半年,寒武纪实现营业收入1.14亿元,同比下滑33.37%;毛利总额8110.97万元,毛利率为70.86%,相比上年同期提升15.93个百分点;上半年净亏损为5.45亿元,相比上年同期净亏损6.22亿元有所收窄;扣非净净亏损6.41亿元,相比上年同期扣非净亏损7.57亿元也有所收窄。
如果只看二季度的业绩,寒武纪二季度营收大约3918万元,环比下降了48%;净亏损为2.9亿元,亏损环比增加13.73%。
寒武纪在财报中解释称,上半年营收同比下滑,主要是受到了供应链影响,同时公司调整了销售策略,优先服务毛利较高、信用较好的客户,造成了本期营业收入有所下降。
不过,这一策略也直接提升了公司的毛利率。
至于亏损进一步收窄,主要是得益于公司不断提升研发效率及优化资源配置:
1)报告期内,按归属期分摊的股份支付费用较上年同期减少;
2)根据公司业务规划,进一步提升研发效率、优化资源配置,本期职工薪酬及测试化验加工费等较上年同期减少。
另外,2023年上半年,寒武纪经营活动产生的现金流量净额同比增加了约3.35亿元,主要系本期销售回款较上年同 期增加了约1.26亿元,以及备货减少导致的采购支出减少约2.28亿元所致;归属于上市公司股东的净资产较上年度末也增加约12.15亿元,总资产较上年度末增加约8.63亿元,主要系本期公司向特定对象发行新股募集资金16.49亿元所致。
本报告期加权平均净资产收益率同比增加 0.40 个百分点;扣除非经常性损益后的加权 平均净资产收益率同比增加 0.93 个百分点,除以上影响归属于上市公司股东的净资产变动的因 素外,主要系本期公司经营亏损金额较上年同期收窄 7,758.07万元所致。
综合寒武纪招股书及近三年上市数据来看,寒武纪一直是处于亏损当中。自2017年至2022年,寒武纪分别亏损了3.807亿元、0.41亿元、11.79亿元、4.34亿元、8.25亿元、12.57亿,6年累计亏损超过41亿元,再加上今年上半年亏损的5.45亿元,累计亏损将超过46.6亿元。
研发投入缩减,研发人员半年减少225人
从财报分析来看,寒武纪的持续亏损主要是由于持续高强度的研发投入所造成的。但是随着上市之后亏损额的持续扩大,再加上去年被美国列入实体清单的影响,自今年以来,寒武纪也不得不开始缩减研发投资。
财报数据显示,2023年上半年寒武纪研发投入约4.826亿元,是同期总营收的四倍,研发投入占营业收入比例为421.56%,虽然相比去年同期增加了55.22 个百分点,但主要系公司上半年营业收入减少所致。并且,2023年上半年研发投入相比去年同期的6.293亿元减少了约1.47亿元,同比减少了23.32%。
对此,寒武纪解释称,研发投入减少主要是以下三个原因:
(1)职工薪酬减少:主要系公司提升研发效率及优化资源配置,职工薪酬较上年同期减少;
(2)测试化验加工费减少:主要系根据业务规划,提升研发效率及优化资源配置,本期测试化验加工费用较上年同期减少所致;
(3)无形资产摊销减少:主要系公司优化购置 IP、EDA 等无形资产,使本期摊销金额较上年同期有所减少。
此前的报道显示,今年4月寒武纪就曾传出裁员的消息。虽然寒武纪并未在财报中承认在今年上半年实施了裁员,仅用了“公司提升研发效率及优化资源配置”的表述。但是,“职工薪酬减少”的根本原因还是在于研发人员数量减少了数百人。
2023年半年报显示,截至2023年6月30日,寒武纪研发人员数量已经降至980人,占员工总人数比例也降至了77.47%(77.04%以上研发技术人员拥有硕士及以上学历)。
但是根据2022年财报显示,截至2022年12月31日,寒武纪研发员工总数达1205人,占总员工人数中占比达79.49%。
也就是说,在今年上半年寒武纪的研发人员相比去年底时已经减少了225人。
另外在今年7月,网上又有传闻显示,寒武纪对旗下智能驾驶芯片业务子公司行歌科技进行了裁员,该公司软件部门裁员近一半,硬件部门仅保留少数员工“善后”,并且新的项目已经暂停,未来可能将被放弃。
而2023年半年报显示,寒武纪在研的车载芯片项目,上半年已经投入了约1.18亿元,累计投入金额达到了约4.64亿元。截至报告期末,寒武纪的中阶智能驾驶芯片已经回片;高阶智能驾驶芯片正在进行产品研发。
如果之前关于寒武纪旗下智能驾驶芯片业务子公司行歌科技的传闻属实的话,可能意味着智能驾驶芯片项目遭遇了挫折,如果该项目最终被放弃,则意味着之前至少4.64亿元的投入将难以收回。
完成16.49亿元定增,却遭遇股东23.58亿元减持
面对巨大财务压力,2022 年,寒武纪向上海证券交易所提交了向特定对象发行股票的申报材料,发行拟募集资金总额不超过 16.72,扣除发行费用后的净额将投资于先进工艺平台芯片项目、稳定工艺平台芯片项目、面向新兴应用场景的通用智能处理器技术研发项目及补充流动资金。
2023年4月13日,寒武纪完成了此次定增,发行价121.1元/股,募资净额为16.49亿元。
值得注意的是,在引入18家机构参与了寒武纪的此次定增的同时,今年以来,也有多家机构减持了寒武纪的股份。
比如,苏州工业园区古生代创业投资企 业(有限合伙)在2023年3月23日到8月24日,通过集中竞价方式累计减持寒武纪1.4343%的股份,减持均价为152.77元/股至225.84元/股,套现约10.72亿元。此番减持后,古生代创投不再持有寒武纪任何股份。
南京招银电信新趋势凌霄成长股权投资基金合伙企业(有限合伙)和湖北长江招银成长股权投资合伙企业(有限合伙)在今年上半年也均清仓了寒武纪。其中,南京招银减持价格区间为77.03元至223.25元/股,套现约3.88亿元;湖北招银减持价格区间为77.06元至223.25元/股,套现约1.91亿元。
国投(上海)科技成果转化创业投资基金企业(有限合伙)今年上半年也减持了寒武纪0.89%的股份,减持价格区间在158元至266.16元/股,套现约7.17亿元。
需要指出的是,今年上半年,受益于以ChatGPT为代表的生成式AI所引爆的AI芯片热潮,推动寒武纪股价大涨,由年初的54.51元/股一度暴涨至最高271.47元/股(4月21日)。显然,上述股东基本都在高位或接近高位的位置进行了减持。累计减持金额达23.58亿元。
随后,由于一季报业绩不佳,以及后续AI芯片热度降低和A股市场的整体下滑,寒武纪股价开始持续走低,8月25日最低价跌至139.23元/股。
为了提振股价,寒武纪昨日晚间,在业绩亏损的情况下,还发布公告称,公司拟通过集中竞价交易方式进行股份回购,回购资金总额不低于3000万元(含),不超过5000万元(含),回购价格不超过239元/股(含),预计回购数量约为12.55万股-20.92万股,约占公司总股本的0.03%-0.05%。
与NVIDIA差距巨大
作为国内较早专注于人工智能芯片产品的研发的企业,寒武纪目前的主要产品为云端智能芯片及加速卡、 训练整机、边缘智能芯片及加速卡、终端智能处理器 IP 以及上述产品的配套软件开发平台。
寒武纪在财报中表示,目前公司已推出的产品体系覆盖了云端、边缘端的智能芯片及其加速卡、训练整机、处理 器 IP 及软件,可满足云、边、端不同规模的人工智能计算需求。公司的智能芯片和处理器产品可 高效支持视觉(图像和视频的智能处理)、语音处理(语音识别与合成)、自然语言处理以及推 荐系统等多样化的人工智能任务,高效支持视觉、语音和自然语言处理等技术相互协作融合的多 模态人工智能任务,可辐射智慧互联网、智能制造、智能教育、智慧金融、智能家居、智慧医疗 等“智能+”产业。
截至报告期末,在智能处理器微架构及指令集方面,寒武纪已自主研发了五代智能处理器微架构、五代商用智能处理器指令集,第六代智能处理器微架构和指令集正在研发中。其中,第六代智能处理器微架构及指令集将对自然语言处理大模型和推荐系统的训练推理等场景进行重点优化,将在编程灵活性、能效、功耗、面积等方 面提升产品竞争力。
在基础系统软件平台方面,寒武纪的基础系统软件平台相比前期版本也进行了优化和迭代。其中,推理软件平台在模型性能优化、大模型和 AIGC 推理业务支持、推理性能优化等重点方面均实现了突破和进展。训练软件平台在通用性、性能等方面取得了优化,在大模型和 AIGC 训练领域、推荐系统等重点领域实现了改进和迭代。比如,在大模型和 AIGC 推理业务支持方面,公司研发了大语言模型分布式推理加速库 BangTransformer,进行了 LLaMA、GLM、BLOOM、GPT-2 等主流生成式大语言模型的适配工作。寒武纪表示,基础系统软件平台的不断改进和发展,将促进公司硬件产品更好的业务落地。
在专利方面,截至2023年6月30日,寒武纪累计申请的专利为 2,774 项。按照专利地域可分为:境内专利 申请 1,789 项,境外专利申请 692 项,PCT 专利申请 293 项;按照专利类型可分为:发明专利申 请 2,700 项,实用新型专利申请 37 项,外观专利申请 37 项。
公司累计已获授权的专利为 1,011 项。按照专利地域可分为:境内专利 718 项,境外专利 293 项;按照类型可分为:发明专利 938 项、实用新型专利 36 项,外观设计专利 37 项。 此外,公司拥有软件著作权 64 项;集成电路布图设计 6 项。
其中,2023年上半年内,寒武纪新增专利申请 54 项,其中发明专利申请 53 项,实用新型专利申请 1 项。公司获授权的专利为 146 项,其中发明专利 143 项,实用新型专利 2 项,外观设计专利 1 项。此外,公司新增软件著作权1项。
虽然持续的高强度的研发投入,使得寒武纪在AI技术实力及专利储备方面都得到了增强,但是从商业化及市场的角度来看,目前寒武纪在整个人工智能芯片市场的存在感仍然较弱。
寒武纪在财报中也坦承地指出,在云端智能计算市场和边缘智能计算市场中,目前市场份额主要由NVIDIA等企业所占据;在智能计算集群系统市场,基于NVIDIA GPU 产品的集群占据市场优势地位。
与NVIDIA等集成电路行业巨头相比,公司存在一定竞争劣势。在产业链生态架构方面,公司自主研发的基础系统软件平台的生态完善程度与NVIDIA相比仍有一定差距;在产品落地能力方面,公司的销售网络尚未全面铺开,业务覆盖规模及客户覆盖领域需要进一步拓展。
虽然自今年年初以来,以ChatGPT为代表的生成式AI持续火爆,直接带动了整个云端AI芯片市场需求的暴涨,AI芯片市场龙头NVIDIA业绩暴涨,市值超万亿美元。同时去年10月美国半导体新规对于高性能AI芯片的对华出口进行了限制,使得NVIDIA等巨头的高性能AI芯片对华出口受限,也推动了国内市场对于国产AI芯片的需求。
但是,从寒武纪财报来看,今年上半年仅实现营业收入1.14亿元,同比还下滑33.37%。显然,寒武纪并未从这场由AIGC所带来的AI芯片盛宴当中分得一杯羹。
资料显示,去年寒武纪思元290、思元370系列芯片产品成功导入阿里云等头部客户,与多家头部企业实现合作,完成规模化销售,并推动了2022年寒武纪云端产品线同比增长高达173.5%,但这主要是由于原来基数较低,实际销售额并不高。
寒武纪也在今年4月公布的定增申报稿中警示称,“NVIDIA在AI芯片领域占有绝对优势,在云端智能芯片机加速卡市场占据90%以上的市场份额,目前云端产品客户与公司尚未形成长期稳定的合作关系”。
当然,这其中一部分的原因可能是由于去年12月被美国打压导致了供应链方面的问题。寒武纪表示,该事项对公司研发造成的影响程度尚在有限范围内,公司的核心技术来自于寒武纪的自主研发,拥有自主知识产权,不会对公司产品研发及核心竞争力产生重大不利影响。但长期来看,切换新供应商将产生一定成本,将可能对公司经营业绩产生一定不利影响。
寒武纪表示,为应对该事项对公司发展造成的不利影响,公司将基于产业政策与产业链上下游长期、广泛、 良好的合作,在产品研发各阶段继续与各相关方保持良好沟通,并积极探索,做好各项应对工作, 推动公司业务持续发展。
另外,目前全球正处于 AIGC 的爆发期初期,但是未来这一领域仍有着巨大的增长空间。目前市场NVIDIA虽然是一家独大,但AI技术仍在快速迭代,技术发展路径仍存在很多新的方向,尚未形成稳定的市场格局。特别是在国产替代的趋势之下,对于国产AI芯片厂商来说有着更多的机会。相信位于风口上的寒武纪也不会甘心错失逆袭的良机。
在财报当中,寒武纪也表示,公司基于云端产品的优势,针对最近兴起的大模型领域,优化了公司产品在 AIGC 及大语言 模型领域的性能,并与多个行业客户及 ISV 推动了技术和产品合作。
最新的信息显示,寒武纪最新一代的云端智能训练新品思元590芯片即将发布,有望在一部分的大模型训练和推理任务中替代A100。
值得注意的是,今年7月下旬,浙江政府采购网、浙江政府购买服务信息平台网站发布关于「浙东南数字经济产业园数字基础设施提升工程(一期)」的结果公告,寒武纪作为牵头方中标,中标金额高达7.53亿元。
显然,如果上述项目顺利落地,将有望推动寒武纪今年营收创下历史新高。
自 芯智讯
更多阅读:








